专利侵权案件中调度执法人员直接参与案件处理是否合法?
作者 | Stacy
(本文版权为知产力所有,转载请在显著位置注明来源。)
(本文1237字,阅读约需3分钟)
今日,西峡龙成特种材料有限公司(下称西峡公司)与陕西煤业化工集团神木天元化工有限公司(下称天元公司)、榆林市知识产权局其他专利行政纠纷在最高人民法院再审。该案是对榆林市知识产权局所作专利侵权处理决定是否违法进行审查,涉及问题新颖。一审曾作为新类型案件被列入“2015年度全国法院知识产权典型案例”。

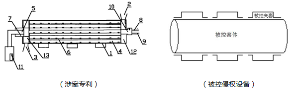
2011年5月11日国家知识产权局授予西峡公司“内煤外热式煤物质分解设备”专利权,专利号为ZL201020586802.2(下称涉案专利)。2015年6月10日西峡公司以天元公司未经许可制造、使用的煤炭分质转化利用设备侵犯其专利权为由,请求榆林市知识产权局处理,并要求天元公司停止侵权行为。榆林市知识产权局经对涉案权利要求记载的技术特征与被控侵权设备技术特征比对后,认为天元公司使用的设备不构成对涉案专利的侵权,2015年9月1日榆林市知识产权局决定驳回西峡公司要求天元公司停止专利侵权行为的请求。
西峡公司不服,向陕西省西安市中级人民法院提起行政诉讼。西峡公司诉称,榆林市知识产权局的行政决定合议组成人员违法;涉案专利的技术特征和被控侵权设备技术特征等同,请求判令撤销被告的专利侵权纠纷案件处理决定。榆林市知识产权局辩称,因现有人员力量欠缺,经请示上级主管部门,调度执法人员参加专利侵权案件合议组属于行政机关内部行为;天元公司设备与西峡公司专利不同,请求维持。
陕西省西安市中级人民法院审理认为,榆林市知识产权局在作出行政处理决定前,经上级主管部门按照人事机关内部规定开展执法人员调度工作,符合内部交流制度,作出的行政处理决定并未违反法定程序;知识产权局在适用最高人民法院《关于审理侵犯专利权纠纷案件应用法律若干问题的解释》《关于审理专利纠纷案件适用法律问题的若干规定》之规定,认为涉案专利的"密封窑体"和被控侵权设备的"夹套"及专利中的"煤物质分解推进管道"与被控侵权设备的"回转窑体"技术手段、功能和效果均不相同,不适用等同原则,适用法律正确。遂判决驳回西峡公司的诉讼请求。西峡公司不服,向陕西省高级人民法院提起上诉。陕西省高级人民法院维持了一审判决。
再审审理过程中,主要围绕以下争议焦点进行审理:
1. 榆林市知识产权局所作出的行政处理决定是否违反法定程序。
2. 被诉侵权方案是否落入专利权保护范围。
再审申请人西峡公司称,榆林市知识产权局变更合议组没有将变更情况告知申请人,程序违法。被控侵权设备落入涉案专利的保护范围之内,榆林市知识产权局对专利侵权的相同等同认定标准不符合法律规定。
再审被申请人榆林市知识产权局称,在作出行政处理决定前,经上级主管部门按照人事机关内部规定开展执法人员调度工作,程序不违反;在行政处理过程中,确定侵权比对对象符合法律规定,涉案专利权利要求保护范围和现有技术相近的对比逻辑过程清楚,结论正确。再审被申请人天元公司表示被控侵权设备是基于现有技术做出,且已对涉案专利提起无效宣告请求。
该案并未当庭宣判,知产力将继续关注该案进展。
图片来源于网络


















