浅谈专利功能性技术特征的认定及建议

作者 | 王锐 刘奕晴 孙丽妍 金玉兰 北京铭硕知识产权代理有限公司
摘要:在专利授权、确权和侵权程序中针对功能性技术特征的认定对专利权保护范围的确定具有重要影响,直接关系到专利权人对权利的行使,但在司法实践中,对功能性技术特征的认定和解释一直以来是实务中的难点。文章通过结合一起侵权纠纷案件与相关司法判例,从功能性技术特征的相关规定、认定标准以及内容的确定等方面对功能性技术特征进行解读和剖析,并且针对功能性技术特征于权利要求保护范围的影响问题,分别从撰写侧、专利权人侧和无效请求侧提出了相关的应对建议,以期从不同角度为相关利益人提供应对策略。
关键词:功能性技术特征;认定;权利要求;保护范围
引言
功能性技术特征,作为一类性质较为特殊的技术特征,指的是利用功能或者效果进行表述的特征。由于功能性技术特征的字面含义十分宽泛,因而在专利授权和确权程序中对权利要求进行解释以确定保护范围时,往往出现较多的争议:如果按照《专利审查指南》的相关规定,功能性技术特征应当理解为覆盖了所有能够实现所述功能的实施方式,则权利要求的保护范围过大,很有可能将申请日以后的技术囊括在内,从而导致专利权的保护范围与专利的创新程度和对现有技术的贡献不相匹配,在对后续的改进和创新带来不应有的限制的同时,影响科学技术发展和经济社会进步;如果按照相关司法解释的规定,功能性技术特征的内容应当由人民法院结合说明书和附图描述的该功能或者效果的具体实施方式及其等同的实施方式确定,则保护范围可能因被过度限缩而影响专利权人对权利的行使。
然而,在专利撰写过程中,尤其在与机械领域相关的案件中,由于实现特定功能或者效果的机械结构可能多种多样,因而不可避免地会引入功能性技术特征进行上位概括。另外,“可预见性规则”的引入也要求专利申请人在撰写专利的过程中要充分考虑实现相应技术效果的各种技术手段之间的关系,因为一旦将A技术特征写入权利要求,则在确定保护范围时很有可能因“可预见性规则”而认为专利权人明确排除了与A技术特征不相同也不等同的B技术特征,以限制专利权人对等同规则的适用。例如,在涉及同一专利ZL200320112523.2“防粘连自动排气阀”的两起案件[1,2](进水套案)中,最高院对可否将权利要求中的“锥面”扩张到“平面”的不同裁判标准便是由适用等同规则向因可预见性规则而限制等同规则适用进行转变的典型判例。
另一方面,在利用功能性技术特征进行上位概括时,又要考虑这样的概括是否是在说明书中进行了充分公开的基础上进行的,是否足以使本领域技术人员在看到该特征时即可想到相应的技术手段。
有鉴于此,本文将结合一起侵权纠纷案件与相关司法判例,从功能性技术特征的相关规定、认定标准以及内容的确定等方面对功能性技术特征进行解读和剖析并提供建议,以期从不同角度为相关利益人提供应对策略。
一、各个国家和地区组织对功能性技术特征的相关规定
(一)美国
功能性技术特征的概念源起于美国,即“装置/步骤+功能(means or step plus function)”。美国专利法第112条明确规定:“组合权利要求中的要素可以表示为用于执行特定功能的一个装置或步骤,而无需记载支持该功能的结构、材料或动作,并且该权利要求应被解释为覆盖说明书及其等同方案中描述的相应结构、材料或动作”。
美国《专利审查程序手册》(即,MPEP)进一步规定了对上述条款的审查,在第2181节[3]中提到:在Donaldson案中,法院认为在作出可专利性判定时,不能忽视说明书中公开的与这样的语言对应的结构;在Williamson案中,法院认为判断一个技术特征是否是功能性技术特征的标准是本领域普通技术人员是否理解权利要求的词语与作为结构的名称具有足够明确的含义。另外,第2181节还给出了“装置/步骤+功能”特征的认定标准,即:
(A)权利要求限定使用术语“means”或“step”,或者用作“means”的替代的、用于执行所要求保护的功能的通用占位符(也称为无特定结构含义的非结构术语)的术语;
(B)术语“means”或“step”或者通用占位符由功能性语言修饰,通常但并不总是由过渡词“for”(例如“means for”)或者其他连接词或短语(例如“configured to”或“so that”)连接;
(C)术语“means”或“step”或者通用占位符未通过用于执行所要求保护的功能的足够的结构、材料或动作进行修饰。
另外,该章节还结合了相关的判例以试图解释对功能性技术特征的判断并不存在绝对的标准,而是要从本领域普通技术人员的角度出发,判断作为执行功能的结构名称是否具有足够明确的含义。
(二)欧洲
欧洲专利公约及其实施细则中并未明确提及功能性技术特征,而是在《欧洲专利审查指南》中对功能性技术特征(functional feature)和要实现的结果特征(result to be achieved)(有学者认为中国的《专利审查指南》针对“功能性限定”所作的规定基本上是参照《欧洲专利审查指南》制定的[4])进行了相关规定。
具体地,“可包括功能性特征,前提是在技术人员无需行使创造性技能的情况下毫无困难地提供执行该功能的一些手段”;“作为一般规则,试图通过要实现的结果来限定发明的权利要求是不允许的。然而,如果发明只能用这样的术语来限定,或者在不过度限制权利要求的范围的情况下不能更精确地限定,并且如果结果可以通过说明书中充分规定的或本领域技术人员已知的试验或步骤直接且肯定地验证且不需要过度试验,则可以允许”;“允许根据要实现的结果限定主题的规定与允许根据功能性特征限定主题的规定不同”;“手段加功能特征(means-plus-function features,例如,means for...)以及方法特征(method for...)为功能性特征”;“即使在说明书中仅给出了特征的一个示例的情况下,如果本领域技术人员理解其他手段可以用于相同的功能,权利要求也可以根据其功能来广义地限定特征,即作为功能性特征。然而,一般来说,如果申请的全部内容传达了一种功能将以特定的方式执行而没有暗示设想到替代手段的印象,并且权利要求的表述方式包含了执行该功能的其他手段或所有手段,则会产生异议。此外,如果说明书只是以含糊的术语说明可以采用其他手段,如果不清楚这些手段可能是什么或如何使用,这是不够的”[5]。
因此,尽管《欧洲专利审查指南》也规定了可以采用功能性特征和要实现的结果特征对权利要求进行限定,但对它们的使用存在严格的限制,即,在本领域技术人员无需创造性劳动即可想到与实现该功能相关的具体实施方式并且说明书对于实现该功能的手段足够清楚的情况下,可以使用功能性特征;而对于结果特征的使用,则需要在穷尽其他可能并且能够通过试验或步骤验证的情况下进行。
(三)中国
与欧洲类似,中国专利法及其实施细则中同样没有与功能性技术特征相关的规定,而是在《专利审查指南》(2023年)中提及了相关内容。
“通常,对产品权利要求来说,应当尽量避免使用功能或者效果特征来限定发明。只有在某一技术特征无法用结构特征来限定,或者技术特征用结构特征限定不如用功能或效果特征来限定更为恰当,而且该功能或者效果能通过说明书中规定的实验或者操作或者所属技术领域的惯用手段直接和肯定地验证的情况下,使用功能或者效果特征来限定发明才可能是允许的”;“对于权利要求中所包含的功能性限定的技术特征,应当理解为覆盖了所有能够实现所述功能的实施方式。如果权利要求中限定的功能是以说明书实施例中记载的特定方式完成的,并且所属技术领域的技术人员不能明了此功能还可以采用说明书中未提到的其他替代方式来完成,或者所属技术领域的技术人员有充分理由怀疑该功能性限定所包含的一种或几种方式不能解决发明或者实用新型所要解决的技术问题,并达到相同的技术效果,则权利要求中不得采用覆盖了上述其他替代方式或者不能解决发明或实用新型技术问题的方式的功能性限定”;“如果说明书中仅以含糊的方式描述了其他替代方式也可能适用,但对所属技术领域的技术人员来说,并不清楚这些替代方式是什么或者怎样应用这些替代方式,则权利要求中的功能性限定也是不允许的”。
可以看到,中国审查指南与欧洲审查指南的规定非常相似,均严格限制了功能或者效果特征的使用,并且均对说明书对实现所述功能或者效果的描述的清楚性提出了明确的要求。
另外,我国专利制度是在授权确权程序和专利侵权诉讼程序中行民分立的二元体制,因此,在专利侵权诉讼程序中又存在着对功能性技术特征的司法解释。
最高人民法院于2009年发布的《关于审理侵犯专利权纠纷案件应用法律若干问题的解释》(以下称“《解释》”)第四条规定了功能性技术特征的解释方法:“对于权利要求中以功能或者效果表述的技术特征,人民法院应当结合说明书和附图描述的该功能或者效果的具体实施方式及其等同的实施方式,确定该技术特征的内容”;最高人民法院于2016年发布的《关于审理侵犯专利权纠纷案件应用法律若干问题的解释(二)》(以下称“《解释二》”)第八条第一款进一步对功能性特征给出了明确的定义:“功能性特征,是指对于结构、组分、步骤、条件或其之间的关系等,通过其在发明创造中所起的功能或者效果进行限定的技术特征,但本领域普通技术人员仅通过阅读权利要求即可直接、明确地确定实现上述功能或者效果的具体实施方式的除外”;第八条第二款确定了侵权判断规则并明确了功能性特征的保护范围:“与说明书及附图记载的实现前款所称功能或者效果不可缺少的技术特征相比,被诉侵权技术方案的相应技术特征是以基本相同的手段,实现相同的功能,达到相同的效果,且本领域普通技术人员在被诉侵权行为发生时无需经过创造性劳动就能够联想到的,人民法院应当认定该相应技术特征与功能性特征相同或者等同”;最高人民法院于2020年发布的《关于审理专利授权确权行政案件适用法律若干问题的规定(一)》第九条第一款规定:“以功能或者效果限定的技术特征,是指对于结构、组分、步骤、条件等技术特征或者技术特征之间的相互关系等,仅通过其在发明创造中所起的功能或者效果进行限定的技术特征,但所属技术领域的技术人员通过阅读权利要求即可直接、明确地确定实现该功能或者效果的具体实施方式的除外”;第九条第二款规定:“对于前款规定的以功能或者效果限定的技术特征,权利要求书、说明书及附图未公开能够实现该功能或者效果的任何具体实施方式的,人民法院应当认定说明书和具有该技术特征的权利要求不符合专利法第二十六条第三款的规定”。
由此可见,最高院出台的上述司法解释一方面对功能性技术特征进行了明确的定义,另一方面又明确了功能性技术特征的解释规则,即说明书中的具体实施方式及其等同方式,同时满足说明书充分公开的要求。相比于专利审查指南将功能性技术特征解释为覆盖了所有能够实现所述功能的实施方式,上述司法解释进一步将其限缩为具体实施方式及其等同的实施方式。
另外,北京市高级人民法院发布的《专利侵权判定指南(2013)》(以下称“《判定指南2013》”)第十六条规定:对于权利要求中以功能或者效果表述的功能性技术特征,应当结合说明书和附图描述的该功能或者效果的具体实施方式及其等同的实施方式,确定该技术特征的内容。功能性技术特征,是指权利要求中的对产品的部件或部件之间的配合关系或者对方法的步骤采用其在发明创造中所起的作用、功能或者产生的效果来限定的技术特征。下列情形一般不宜认定为功能性技术特征:(1)以功能或效果性语言表述且已经成为所属技术领域的普通技术人员普遍知晓的技术名词一类的技术特征,如导体、散热装置、粘结剂、放大器、变速器、滤波器等;(2)使用功能性或效果性语言表述,但同时也用相应的结构、材料、步骤等特征进行描述的技术特征。北京市高级人民法院发布的《专利侵权判定指南(2017)》(以下称“《判定指南2017》”)第十八条规定:对于权利要求中以功能或者效果表述的功能性特征,应当结合说明书及附图描述的该功能或者效果的具体实施方式及其等同的实施方式,确定该技术特征的内容。功能性特征,是指对于结构、组分、材料、步骤、条件或其之间的关系等,通过其在发明创造中所起的功能或者效果进行限定的技术特征。下列情形一般不宜认定为功能性特征:(1)以功能或效果性语言表述且已经成为本领域普通技术人员普遍知晓的技术术语,或以功能或效果性语言表述且仅通过阅读权利要求即可直接、明确地确定实现上述功能或者效果的具体实施方式的技术特征;(2)使用功能性或效果性语言表述,但同时也用相应的结构、组分、材料、步骤、条件等特征进行描述的技术特征。
由对比可以看到,北京高院在《判定指南2017》中参考《解释二》对功能性特征的定义进行了修改,删除了不宜认定为功能性特征的示例,同时增加了《解释二》第八条第一款的但书部分。尽管北京高院的侵权判定指南不具有能够作为判决依据的司法解释那样的法律效力,但在功能性特征的认定方面仍然具有一定的指导意义。
二、案情描述及分析
笔者将对一起侵权诉讼案件(以下简称“本案”)[6]中涉及功能性特征认定的部分进行描述,同时结合司法判例对相关问题进行剖析。
涉案专利(以下称“本专利”)的名称为“注射拉伸吹塑成型装置”,申请号为01121888.6,申请日为2001年6月28日,优先权日为2000年6月28日,授权公告日为2005年4月13日。
本专利授权的权利要求1如下:
1. 一种注射拉伸吹塑成型装置,其特征是,具有:
机座(52),
设在前述机座上的、注射成型预成型件的注射成型部(68),
设在前述机座上的、将前述预成型件拉伸吹塑成型为容器的拉伸吹塑成型部(70),
将对应于前述各成型部而设置的颈部模(90)向前述各成型部间歇输送的旋转盘(66),
固定在前述机座上的下部基座(54),
设置在前述下部基座的上方的、对前述旋转盘进行支持的上部基座(56),
在前述下部基座的下方,设置在前述机座内的牵引板(58),
贯穿前述下部基座并将前述上部基座与前述牵引板二者连结起来的多个系杆(62),
设置在前述机座内的、驱动前述牵引板升降的合模机构(120)。
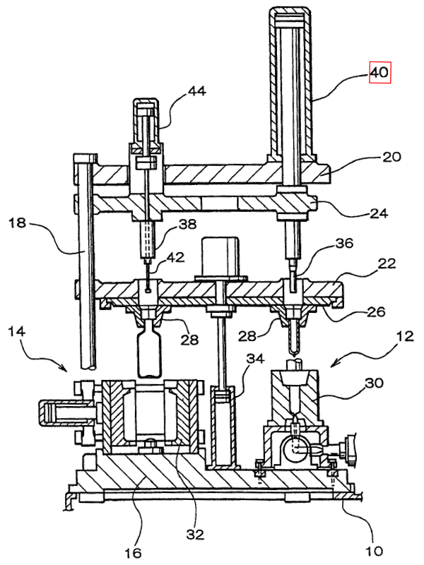
相关附图如下:

本专利的图2

本专利的图4
其中,图2和图4中红色的椭圆和方框为笔者为方便读者阅读而加注。本专利相比于现有技术(图4)而言,主要的技术贡献在于将合模机构(120)设置在机座(52)内,与现有技术的设置在上方的合模液压缸(40)相比,降低了装置的总体高度,从而提供一种平衡性良好的稳定的注射拉伸吹塑成型装置。
在下文中,笔者仅就法院判决中与功能性技术特征相关的内容进行分析。
在一审阶段,对于技术特征“设在前述机座上的、注射成型预成型件的注射成型部(68)”和“设在前述机座上的、将前述预成型件拉伸吹塑成型为容器的拉伸吹塑成型部(70)”,原审法院认为:“虽然被告认可注射成型工艺和拉伸吹塑成型工艺为本领域较为成熟的工艺,但并无证据表明设置在注射拉伸吹塑装置上的‘注射成型部’和‘拉伸吹塑成型部’为本领域技术人员普遍知晓的技术名词,故属于功能性技术特征,应当结合说明书和附图描述的该功能或者效果的具体实施方式及其等同的实施方式,确定该技术特征的内容”。
对于一审法院的上述判决,专利权人提出了上诉,具体理由包括:(1)“注射成型部”和“拉伸吹塑成型部”属于本领域普通技术人员普遍知晓的技术一类的技术特征,不宜被认定为功能性技术特征;(2)“注射成型部”和“拉伸吹塑成型部”不是本发明的改进点,在确定权利要求的保护范围时,不应该将其认定为功能性技术特征进而用具体实施方式中的具体结构来解释权利要求的保护范围;(3)热流道不是注射成型部注射预成型件所不可缺少的必要技术特征,不应该将“注射成型部”解释为包含“热流道”。
在下文中,笔者将针对专利权人提出的上述理由与二审法院(北京市高级人民法院)的判决,结合相关司法判例进行剖析。
(一)关于“注射成型部”和“拉伸吹塑成型部”
由于上诉时正值北京高院发布《判定指南2013》之际,因此专利权人在上诉状中试图将“注射成型部”和“拉伸吹塑成型部”纳入该指南对功能性技术特征认定的除外情形范围内,即,主张两者属于本领域普通技术人员普遍知晓的技术名词一类的技术特征,并提供了两个公知常识性证据作为参考。然而,二审法院以未提供证据为由未予采纳。
笔者认为,在被告已经认可注射成型工艺和拉伸吹塑成型工艺为本领域较为成熟的工艺并且“部”通常可被理解为“部分”和“部位”的含义的情况下,作为上述指南发布者的北京高院仍坚持将上述两个特征认定为功能性技术特征的判定是否过于谨慎,值得商榷。而且,对被告而言,“注射成型工艺和拉伸吹塑成型工艺为本领域较为成熟的工艺”实际上属于对其不利的事实,被告对此的认可是否已构成《民事诉讼法》中的自认而属于无需专利权人举证、免除举证责任的情形,同样值得商榷。
进一步地,笔者检索了与功能性技术特征相关的判例,发现同明太阳能公司诉华泽兴业公司的侵害实用新型专利权纠纷案[7](以下称“太阳能灯案”)中的判决或许能够从不同角度给本案的争辩提供思路。
在太阳能灯案中,涉案专利的权利要求1限定了“所述灯罩包括:第一散热区和第一防水区;所述灯体包括:与所述第一散热区对应的第二散热区,以及与所述第一防水区对应的第二防水区”,其中的“第一散热区”和“第二散热区”为争议特征。一审法院将其认定为功能性技术特征并认为其内容应根据《解释》第四条确定,即,“第一散热区”和“第二散热区”应当理解为通过设置散热孔或者与之等同的实施方式,令该部分属于灯罩与灯体防水区以外的灯体外腔区域,与灯体以外的空气相连通,从而令防水区内的热量通过散热板传导到空气中进而实现散热功能。二审法院则认为,虽然“第一散热区”和“第二散热区”有“散热”二字,但从权利要求1的整体表述分析,权利要求1中的“散热区”与“防水区”不属于功能或者效果的文字表述,而属于对灯体内部进行区域划分的文字表述,即相对密闭的空间是防水区,相对不密闭的空间则是散热区,故并非功能性技术特征。对于二审判决,最高院在再审裁定书中予以支持,并指出:在认定争议技术特征是否属于“功能性特征”时,需要考虑技术特征文字本身的含义并将该技术特征纳入到整体技术方案中进行理解,“第一散热区”“第二散热区”本质上是对涉案专利产品灯体、灯罩的特定部分的区域划分,本领域技术人员结合两者本身的含义以及对整体技术方案的理解,即可直接、明确地确定所述特征的具体实施方式,其不属于应当根据《解释》第四条的规定进行限缩解释的情形。
由太阳能灯案可以看到,虽然《解释》第四条规定了功能性技术特征的解释方法并通过“具体实施方式及其等同的实施方式”进行限缩性解释,从而防止专利权的保护范围与专利的创新程度和公开内容不相匹配,但结合太阳能灯案的判决可以看出,不能仅仅因特征中包含有特定功能、效果就直接将其认定为功能性特征进而进行限缩性解释,而应当站位本领域技术人员的角度,结合争议特征本身的含义及对整体技术方案的理解进行综合考量,否则对于保护专利权人的利益是不利的。
结合太阳能灯案再看本案,注射成型部和拉伸吹塑成型部两者在文字含义上分别包括了注射成型和拉伸吹塑成型的功能,但在整体技术方案中,其实质上也是对要求保护的注射拉伸吹塑成型装置的整体进行的区域划分。根据说明书的记载,与两者并列的成型处理部还可包括调温部和取出部,而调温部和取出部可以根据需要进行取舍。由此可见,专利权人在撰写权利要求时是将上述两个必要的组成部分写入权利要求,并非是要通过功能性限定而试图涵盖所有能够实现所述功能的实施方式。
因此,本案中法院仅根据特征本身的文字含义而未结合对整体技术方案的理解便将其认定为功能性特征的判定似乎欠妥。同时,太阳能灯案中法院在认定功能性技术特征时的考量对专利权人解释权利要求中的特征具有重要的参考价值。
(二)关于不涉及发明点的特征
本专利的发明点主要在于通过将合模机构设置在基座内来实现降低装置的总体高度的技术效果,因此,专利权人在上诉时试图以争议技术特征不涉及发明点因而不应被认定为功能性技术特征为由进行争辩。然而,二审法院并未接受这样的争辩理由。
对于涉及发明点的特征是否应被认定为功能性技术特征进而结合说明书中描述的具体实施方式及其等同的实施方式进行解释的问题,有学者认为对于涉及发明点的功能性特征应当从严考量,以避免因保护范围过宽而限制公众在此基础上的进一步创新,而对于不涉及发明点的功能性特征,由于其往往是相对简单而容易规避的特征,因而为了保障专利权人的合法权益,应当给予此类特征较宽的保护范围[8]。对此,笔者查阅了相关的法律法规,并未发现有因功能性技术特征不涉及发明点而应当进行从宽解释的规定。笔者进一步检索了相关判例,在宁泰机械公司诉钱峰公司的发明专利权纠纷案[9](以下称“裁剪机案”)中,最高院对该问题进行了回应;在骑客公司诉波速尔公司的侵害实用新型专利权纠纷案[10](以下称“电动平衡车案”)中,最高院将不涉及发明点的特征认定为功能性特征。
在裁剪机案中,钱峰公司认为二审法院在侵权比对中,以功能性特征“可上下升降的上切刀安装板”并非涉案专利的发明点为由对该技术特征的等同范围进行了从宽把握。最高院对二审判决进行了纠正,认为在专利侵权比对中,不应区分发明点与非发明点,主要理由在于:根据专利法第五十九条第一款[笔者按:现专利法第六十四条第一款]“发明或者实用新型专利权的保护范围以其权利要求的内容为准,说明书及附图可以用于解释权利要求的内容”及《解释》第七条第一款“人民法院判定被诉侵权技术方案是否落入专利权的保护范围,应当审查权利人主张的权利要求所记载的全部技术特征”的规定,在判定是否侵犯专利权时,适用全面覆盖原则,并未区分发明点与非发明点,并且发明点与非发明点是相对于最接近的现有技术而言的,最接近的现有技术不同,可能导致发明点不同。发明点的相对性决定了在专利侵权比对中不宜区分发明点与非发明点。
在电动平衡车案中,对于权利要求1中的“转动机构,固定于第一内盖与第二内盖之间,第一内盖与第二内盖通过该转动机构实现转动连接”,专利权人认为转动机构特征不属于功能性限定,而是功能性描述,但最高院认为,转动机构在该专利中起到的功能是使得第一内盖、第二内盖能够转动连接,在判断本领域技术人员是否能够仅通过阅读权利要求即可直接确定实现权利要求1中的转动连接的方式时,还须考虑其所连接的内盖的具体情况,并不是本领域技术人员仅通过阅读权利要求即可直接、明确地确定的,因此,该专利的权利要求1的转动机构特征属于功能性特征。基于此,最高院结合说明书的内容确定了转动机构特征。进一步地,笔者注意到争议特征“转动机构”并未涉及该案所涉专利的发明点,根据该专利说明书第54段的记载,其发明构思主要在于内盖、电力驱动系统、车轮的结构设置,因此,该案在功能性技术特征的认定时并未考虑是否涉及发明点。
根据最高院在裁剪机案和电动平衡车案中的观点,依据专利侵权比对中的全面覆盖原则,权利要求所记载的全部技术特征均应考虑,并且功能性技术特征的认定与是否涉及发明点无关。
结合本案而言,在专利权人未提交专利权评价报告、本专利未曾经历过无效审查程序且被告未提交过作为现有技术的相关专利文献作为证据的情况下,专利权人所主张的发明点其实是就本专利说明书中提到的现有技术而言的,而考虑到发明点的相对性,专利权人主张争议特征不涉及发明点显然说服力不足。同时,考虑裁剪机案和电动平衡车案的判决,即使专利权人能够证明争议特征不是本专利相对于最接近的现有技术的发明点,也会因“功能性技术特征的认定与是否涉及发明点无关”而无法获得法院的支持。
(三)关于不可缺少的技术特征
专利权人认为,即使将“注射成型部”和“拉伸吹塑成型部”认定为功能性技术特征,也不应将“热流道”解释为“注射成型部”不可缺少的技术特征。本专利中关于热流道的原文描述是“在注射成型部68处,如图2所示,通过经喷嘴与注射装置64相连接的热流道76,在下部基座54上安装有注射型腔模78”,本专利中并没有明确记载热流道76是注射成型部68的组成部件,同时本领域技术人员能够了解虽然热流道存在诸多优点,但并非所有的注塑装置都必须采用热流道,而是可根据具体的注塑需要来设置。然而,二审法院同样未接受专利权人的争辩理由。
在侵权比对中,《解释二》第八条第二款规定了比对基础,即,说明书及附图记载的实现所称功能或者效果不可缺少的技术特征,这也是功能性技术特征的涵盖范围。而对于其中的“不可缺少的技术特征”,往往会存在较多的争议:专利权人寄希望于减少其数量以扩大保护范围,而涉嫌侵权人则希望将说明书中提到的实现所称功能或者效果的特征全部纳入以最大程度地限缩保护范围,从而尽可能地规避侵权。对此,最高院在上述太阳能灯案、电动平衡车案以及大花公司诉迈伺特公司的实用新型专利权纠纷案[11](以下称“辅助装置案”)和岛野诉顺德顺泰公司的发明专利权纠纷案[12](以下称“变速操作装置案”)的判决中对不可缺少的技术特征的认定进行了回应。
在太阳能灯案中,最高院认为,即使如再审申请人所主张的那样,将“第一散热区”“第二散热区”解释为“功能性特征”,在“结合说明书和附图描述的该功能或者效果的具体实施方式及其等同的实施方式,确定该技术特征的内容”时,亦应当分析说明书中记载的相关具体实施方式中的具体情形,不能将说明书中记载的与“散热”有关的所有技术特征,均用来确定“第一散热区”“第二散热区”的保护范围,设置散热孔仅是涉案专利说明书公开的一种优选方式,本领域普通技术人员根据涉案专利说明书,能够理解即使不设置散热孔,仅通过特定区域本身的热辐射方式也足以实现散热,即“设置散热孔”并不是实现“散热”必不可少的技术特征。
在电动平衡车案中,最高院认为,如果说明书及附图所记载的功能性特征所对应的具体实施方式包含多个技术特征,在满足专利法第二十六条第三款规定的“充分公开”等有关专利授权的法定条件的前提下,专利权人通常会选择在说明书及附图中仅记载实现功能性特征的功能或效果所不可缺少的技术特征,以获得更大的保护范围。因此,除非存在明显不属于实现权利要求限定的功能或者效果所不可缺少的技术特征的情形,一般应根据说明书及附图记载的与功能性特征对应的具体实施方式确定功能性特征限定的具体内容。如果专利权人主张其中某些技术特征不是不可缺少的,应当对此进行充分说明或者举证证明。
在辅助装置案中,最高院认为,对于权利要求1中的“顶轴装置”这一技术特征并未给出具体实现方式,且本领域普通技术人员亦无法依据该表述直接、明确地确定实现该功能的具体结构、方法等技术方案。“支撑固定旋转轴,并配合驱动装置实现旋转轴的旋转”是顶轴装置在该技术方案中实现的功能,并非对顶轴装置自身结构的限定。大花公司也并未举证证明“顶轴装置”为本领域通常采用的技术,故权利要求1限定的技术特征“顶轴装置”属于功能性技术特征。涉案专利说明书第0022段对“顶轴装置”作了清楚、完整的说明,本领域技术人员在阅读后足以了解并据以实施,同时专利权人未主张或举证证明说明书记载的内容有不属于实现顶轴装置的功能或效果的不可缺少的技术特征,故可依据说明书中的描述明确涉案专利权利要求1的“顶轴装置”的保护内容。
在变速操作装置案中,最高院认为,在解释功能性技术特征时,不能将说明书中记载的与其功能或效果有关的所有技术特征均用于确定其保护范围,不适当地限制其保护范围,对权利人公开其具体实施方式带来负面影响,而应依据《解释二》第八条的规定,根据说明书中记载的实现该功能或者效果不可缺少的技术特征,确定功能性特征限定的保护范围,以维持权利人与社会公众的利益平衡。当说明书中记载了多个与“功能或者效果”对应的具体结构、结构之间的相互关系等技术特征,并且这些技术特征彼此之间相互衔接、紧密配合,难以清晰无异议地确定这些特征中的哪些属于“不可缺少的技术特征”时,应由权利人对此进行充分说明或举证证明。
总结而言,最高院在太阳能灯案中通过站位本领域普通技术人员的角度而得出“设置散热孔”并不是实现“散热”必不可少的技术特征;而在其他几个案件中均认为在存在异议时应由专利权人充分说明或者举证证明。
笔者认为,对于《解释二》第八条中“不可缺少的技术特征”的含义,可以参考专利审查指南中有关必要技术特征的定义,即,发明或实用新型为解决其技术问题所不可缺少的技术特征,其总和足以构成发明或实用新型的技术方案,使之区别于背景技术中所述的其他技术方案,而判断某一技术特征是否为必要技术特征,应当从所要解决的技术问题出发并考虑说明书描述的整体内容,不应简单地将实施例中的技术特征直接认定为必要技术特征。就功能性技术特征而言,不可缺少的技术特征应当指的是实现所述功能所需的必要特征,其总和足以构成实现所述功能的技术方案,而判断某一技术特征是否为某一功能性技术特征的必要技术特征,应当从所要实现的功能出发并考虑说明书描述的整体内容,不应简单地将实施例中的技术特征直接认定为必要技术特征。
伴随着中国专利制度数十年的发展,国内申请人和专利代理师的专利撰写水平也在不断提高,在权利要求中会尽量避免出现非必要技术特征,而在说明书中则不可避免地会引入一些非必要技术特征以避免因不满足充分公开的要求而无法获得授权的问题。在本专利中,对于注射成型部,除了上述关于热流道的段落之外,并未有与注射成型部的组成部分相关的描述,也没有与实现注射成型功能不可缺少的技术特征相关的内容。而对于专利权人主张的“热流道不是注射成型部必不可少的技术特征”,结合以上判例中最高院的判决,对于不属于不可缺少的技术特征的主张,由于说明书中并未给出关于“热流道”的作用的详细描述并且结合说明书中当前仅有的描述无法确认“热流道”是否为实现所述功能所不可缺少的必要特征,因此理应由专利权人进行充分地举证,这实质上也是《民事诉讼法》第67条之“谁主张谁举证”的要求。然而,专利权人并未能提供有力的证据进行反驳。
三、对实务的指引
对功能性特征的认定和解释向来是司法审判中的难点,这一点通过笔者检索到的上述判例最终均是由最高院进行判决或裁定便可看出。另外,笔者在中国裁判文书网上以“专利”和“功能性特征”作为关键词进行检索时,发现自2010年以来有近900篇裁判文书,足以体现功能性特征在涉及专利侵权纠纷案件中的重要性。
因此,对于专利行业的从业者而言,如何在专利撰写过程中规避功能性特征的引入以防止后续行使权利时被限缩性地解释?作为专利权人如何争辩以避免权利要求中的特征被认定为功能性特征或者在被认定为功能性特征的情况下如何争辩以尽可能多地排除不可缺少的技术特征的引入?作为无效请求人或涉嫌侵权人如何尽可能大地限缩包括功能性特征的权利要求的保护范围?
(一)撰写侧
如前所述,在实现特定功能或者效果的结构多种多样的情况下,申请人为了扩大保护范围的需要而不可避免地会引入功能性特征,或者如本专利中的“注射成型部”和“拉伸吹塑成型部”,可能申请人潜意识地认为这就是本领域技术人员普遍知晓的技术名词或通过阅读权利要求即可直接、明确地确定实现该功能或者效果的具体实施方式,抑或是如太阳能灯案中可能仅是通过功能性描述对特定区域进行划分而根本没想到存在被认定为功能性技术特征的可能性。因此,不论出于何种原因,上述涉及功能性特征的案件均给创新主体或专利代理师以足够的警示作用:专利申请文件的撰写对于后续确权阶段至关重要,相比于在确权阶段能够通过进一步限定而修改的权利要求,说明书是无法更改的,说明书也是认定和解释功能性特征的重要依据。
因此,专利撰写者在撰写权利要求时,如果仅能以潜在地可能被认定为功能性特征的语言进行近似于功能性的描述(如功能+装置/部分/层/区域等),则应在撰写与权利要求的技术方案对应的具体实施方式时对实现该功能的技术手段或具体实施方式进行足够详细地陈述,并增加套话类表述,例如,对于“可拆卸部”,说明书中应尽可能多地举例,描述其可包括通过螺栓连接、法兰连接等实现,并增加与“本公开不限于此,只要是本领域技术人员通常理解的能够实现可拆卸地连接的方式即可”类似的套话,以表明针对“可拆卸部”而言,本领域普通技术人员仅通过阅读权利要求即可直接、明确地确定实现上述功能或者效果的具体实施方式。
另外,对于本专利中的“注射成型部”和“拉伸吹塑成型部”,在申请人清楚地知道其并非本专利的发明点的情况下,为了避免后续可能引发的争议,可考虑将两者以类似“第一组件/结构”和“第二组件/结构”描述进行替换,例如,修改后的特征为“设在前述机座上的、注射成型预成型件的第一组件(即,注射成型组件)”和“设在前述机座上的、将前述预成型件拉伸吹塑成型为容器的第二组件(即,拉伸吹塑成型组件)”,这样可能会在一定程度上避免被认定为功能性特征。
同时,对于实现功能或效果的不可缺少的技术特征,需要撰写者以尽可能精简的语言进行阐述,对于在特定条件下才需要的特征尽量不要写入说明书,或者即使写也可通过以列举多种可行的并列技术方案的形式写入说明书,从而充分地说明其中的某一特征并非实现所述功能或效果的必需的技术特征,以在授权和确权阶段为权利要求的解释提供充足的论据。尽管上述部分判例中提到专利权人可通过充分说明或者举证证明来主张某些技术特征不是不可缺少的,但结合“内部证据优先于外部证据”的原则,作为内部证据的说明书所公开的内容的证明力明显更强,这也在一定程度上对说明书的撰写工作提出了更高的要求。
(二)专利权人侧
对于专利权人而言,在权利要求书和说明书均已固定的情况下,在面对无效请求人或涉嫌侵权人以功能性技术特征为由对保护范围进行限缩的意图时,可以在充分地理解与功能性特征相关的法律法规的情况下对上述理由进行有针对性的抗辩。
由于个案的复杂性与多样性,可能难以总结出一套行之有效的应对方案,但结合本案和笔者检索到的上述判例可以看到,对于功能性特征的认定,可考虑从《解释二》第八条第一款但书的角度或者从对权利要求的整体表述的角度(如太阳能灯案)排除功能性特征的适用,例如,争议特征仅仅是对区域进行划分或者对不同部位进行区分,而与实现功能无关,但这也要结合整体的技术方案站位本领域技术人员的角度得出。
另外,基于“全面覆盖原则”,权利要求中的全部技术特征均具有限定作用,并且发明点具有基于不同的现有技术而不同的特点,因此,专利权人如果仅以争议特征与发明点无关而主张其并非功能性特征,则很难获得法院的认可。
对于功能性特征的解释,在内部证据无法作为非不可缺少的技术特征的支撑的情况下,可以结合外部证据进行充分举证,其中,内部证据包括专利说明书及附图、权利要求的上下文、专利审查、复审、无效程序中专利申请人或者专利权人提交的书面材料,国务院专利行政部门及其专利复审委员会制作的审查意见通知书、会晤记录、口头审理记录、生效的专利复审请求审查决定书和专利权无效宣告请求审查决定书,而外部证据包括该技术领域的工具书、教科书、权威论著等[13]。
另外,与其他类型案件类似地,通过中国裁判文书网等网络工具检索相关判例以获得启示,不失为一种行之有效的应对策略。
(三)无效请求侧
作为无效请求人或涉嫌侵权人,在提出无效请求或面对侵权诉讼制定应对策略时,可首先根据全面覆盖原则对涉案权利要求中的全部特征进行分析,归纳出有可能被认定为功能性技术特征的特征,并结合对权利要求的整体表述分析相应特征的含义。其次,如果该特征满足《解释二》第八条第一款中的功能性特征的定义,则可根据《解释》第四条确定该技术特征的内容,即,结合说明书和附图描述的该功能或者效果的具体实施方式及其等同的实施方式确定其内容。
为了最大程度地限缩功能性特征的保护范围并应对专利权人对非不可缺少的技术特征的排除,无效请求人或涉嫌侵权人可借用上述电动平衡车案中最高院的评述要求专利权人举证:“在满足专利法第二十六条第三款规定的“充分公开”等有关专利授权的法定条件的前提下,专利权人通常会选择在说明书及附图中仅记载实现功能性特征的功能或效果所不可缺少的技术特征,以获得更大的保护范围,因此,除非存在明显不属于实现权利要求限定的功能或者效果所不可缺少的技术特征的情形,一般应根据说明书及附图记载的与功能性特征对应的具体实施方式确定功能性特征限定的具体内容,如果专利权人主张其中某些技术特征不是不可缺少的,应当对此进行充分说明或者举证证明”。
四、结语
正如前文所言,对功能性技术特征的认定和解释一直以来是实务中的难点,尽管司法解释对功能性技术特征的定义、解释方法和等同规则等进行了详细的说明,但在实务中应用时仍然会存在理解上的偏差,这种理解上的偏差不仅体现在诉讼相对人之间,更体现在各级法院之间。
因此,对于实务工作者而言,正确理解功能性技术特征的含义以确定保护范围至关重要,而对功能性技术特征的认定和解释工作可能贯穿于诉前的撰写、分析以及诉中的保护范围确定等各个阶段。因此,优化权利要求的撰写以尽量避免功能性技术特征的使用和在无法避免的情况下在说明书中进行充分地说明才能为诉讼阶段争取更大的进退空间。
注释
[1] 最高人民法院(2009)民申字第157号民事裁定书。
[2] 最高人民法院(2015)民申字第740号民事裁定书。
[3] 美国专利审查指南,载https://www.uspto.gov/web/offices/pac/mpep/s2181.html,最后访问日期:2025年8月29日。
[4] 张荣彦:《“欧洲指南”中的“功能性特征”及其对我们的启示》,载《专利代理》2018年第2期,第17页。
[5] 欧洲专利审查指南,载https://www.epo.org/en/legal/guidelines-epc/2023/h_iv.html, 最后访问日期: 2025年8月29日。
[6] 北京市高级人民法院(2013)高民终字第4408号民事判决书。
[7] 最高人民法院(2018)最高法民申1018号民事裁定书。
[8] 张占江:专利侵权诉讼中功能性特征的等同判定规则,载《专利代理》2020年第2期,第36页。
[9] 最高人民法院(2017)最高法民申2073号民事裁定书。
[10] 最高人民法院(2018)最高法民申2345号民事裁定书。
[11] 最高人民法院(2021)最高法知民终1864号民事判决书。
[12] 最高人民法院(2019)最高法民申5466号民事判决书。
[13] 王静:专利功能性特征中隐含技术特征之司法认定上海法学研究,载上海市法学会知识产权法研究会文集2021年第73页。
知产力AI智能体点评
这篇文章兼具理论深度与实践指导价值的专业论文,其核心价值体现在以下三方面:
1、体系化梳理与比较法视角
文章系统梳理了中、美、欧三大专利体系对功能性技术特征的界定标准,揭示了我国《专利审查指南》与司法解释的二元分立现象——授权阶段采用"覆盖所有实现方式"的宽泛解释,而侵权阶段则限缩为"具体实施方式及其等同"。这种比较法分析不仅凸显了制度差异,更为后续案例讨论奠定了理论基础。尤其值得肯定的是,作者敏锐指出欧洲审查标准对我国制度的潜在影响,为读者提供了国际视野的参照系。
2、典型案例的深度解构
通过"注射拉伸吹塑成型装置"侵权案与最高院"太阳能灯案"等判例的对比分析,作者生动展现了司法实践中认定标准的演变逻辑。其中对"是否涉及发明点"争议的剖析尤为精彩:既指出最高院在"裁剪机案"中确立的"全面覆盖原则"(不区分发明点特征),又通过"电动平衡车案"揭示功能性特征认定与发明点的实际脱钩。这种以案释法的方式,将抽象规则转化为可感知的裁判逻辑,极大增强了文章的可读性。
3、多维度的实务建议
文章最具实用价值的部分在于针对不同主体提出的策略建议:(1)撰写侧强调说明书应详尽记载替代实施方案并辅以"套话表述"以预防限缩解释;(2)专利权人侧建议善用外部证据与判例检索进行抗辩;(3)无效请求侧提供"特征分解-功能认定-举证责任转移"的攻防路径。这种"三位一体"的应对框架,体现了作者对专利生命周期各环节痛点的精准把握。
稍显不足的是,文章对“可预见性规则”与功能性特征关系的讨论稍显割裂。若能更明确分析二者联动效应(如权利要求明确排除替代方案时如何影响功能性认定),可提升逻辑连贯性。
(本文仅代表作者观点,不代表知产力立场)
封面来源 | Pixabay 编辑 | 有得



















