康信视点 | 化合物晶体发明的新颖性问题的答复思路浅析
作者 | 徐丽华 张晓影 北京康信知识产权代理有限责任公司
(本文系知产力获得授权的稿件,转载须征得作者本人同意,并在显要位置注明文章来源。)
(本文2497字,阅读约需5分钟)
摘 要
本文通过一个具体案例,针对涉及化合物晶体的发明专利申请,分析并探讨了关于化合物晶体发明的新颖性问题的一点答复思路,旨在为申请人和代理人在分析和答复此类新颖性问题时提供一些参考和帮助。
关键词:化合物晶体发明、新颖性、熔点、差示扫描量热曲线
一、引言
在《专利审查指南》的第二部分第三章第3.2.5节规定,对于包含参数特征的产品权利要求,应当考虑权利要求中的参数特征是否隐含了要求保护的产品具有某种特定结构和/或组成。如果该参数隐含了要求保护的产品具有区别于对比文件产品的结构和/或组成,则该权利要求具备新颖性;相反,如果所属技术领域的技术人员根据该参数无法将要求保护的产品与对比文件产品区分开,则可推定要求保护的产品与对比文件产品相同,因此申请的权利要求不具备新颖性,除非申请人能够根据申请文件或现有技术证明权利要求中包含参数特征的产品与对比文件产品在结构和/或组成上不同1。
在化合物晶体发明的权利要求书中,除了应当记载化合物的化学名称和/或结构式以说明化合物的化学结构以外,通常还应当记载可以表征晶体的下述特征之一:晶体晶胞参数和空间群、晶体XRPD数据或固相NMR数据。然而,在评价这类化合物晶体发明的新颖性时,通常因为对比文件没有公开相应的表征晶体的参数,而使得审查员会认为,根据对比文件公开的信息,本领域技术人员无法将申请请求保护的晶体与对比文件公开的产品直接区分开,从而推定申请请求保护的晶体与对比文件公开的产品相同,因此申请请求保护的晶体不具有新颖性。而令人头疼的是,化合物晶体发明的新颖性问题的审查意见答复起来往往比较麻烦,并且不容易被审查员接受。
下面,笔者通过一个具体案例来介绍和探讨关于化合物晶体发明的新颖性问题的一点答复思路,希望能够为申请人和代理人在分析和答复此类化合物晶体发明的新颖性问题时提供一些参考和帮助。
二、关于化合物晶体发明的新颖性问题的答复案例分析
某发明专利申请的权利要求1为:
“1-[(3R)-6,8-二氟-3,4-二氢-2H-1-苯并吡喃-3-基]-1,3-二氢-5-[2-[(苯基甲基)氨基]乙基]-2H-咪唑-2-硫酮的晶型A,其为非溶剂化形式,所述晶型A具有在14.0、16.1、16.6、19.2和20.4° 2θ ± 0.2° 2θ处具有峰的XRPD图”。
审查员在审查时检索到了一篇对比文件(下称“对比文件1”),认为对比文件1公开了1-[(3R)-6,8-二氟-3,4-二氢-2H-1-苯并吡喃-3-基]-1,3-二氢-5-[2-[(苯基甲基)氨基]乙基]-2H-咪唑-2-硫酮化合物。虽然对比文件1并没有公开该化合物是否为晶体,也没有公开该化合物是否属于溶剂化形式,也没有公开其XRPD图或特征峰数据,但是本领域技术人员根据对比文件1公开的内容,难以将权利要求1中的晶型A与对比文件1中的化合物区分开,从而推定二者相同,因此权利要求1不具备新颖性。
代理人在经过深入仔细地研究了该发明和对比文件1之后,进行了如下答复:
在对比文件1的实施例1中明确公开了1-[(3R)-6,8-二氟-3,4-二氢-2H-1-苯并吡喃-3-基]-1,3-二氢-5-[2-[(苯基甲基)氨基]乙基]-2H-咪唑-2-硫酮化合物的熔点为188°C。
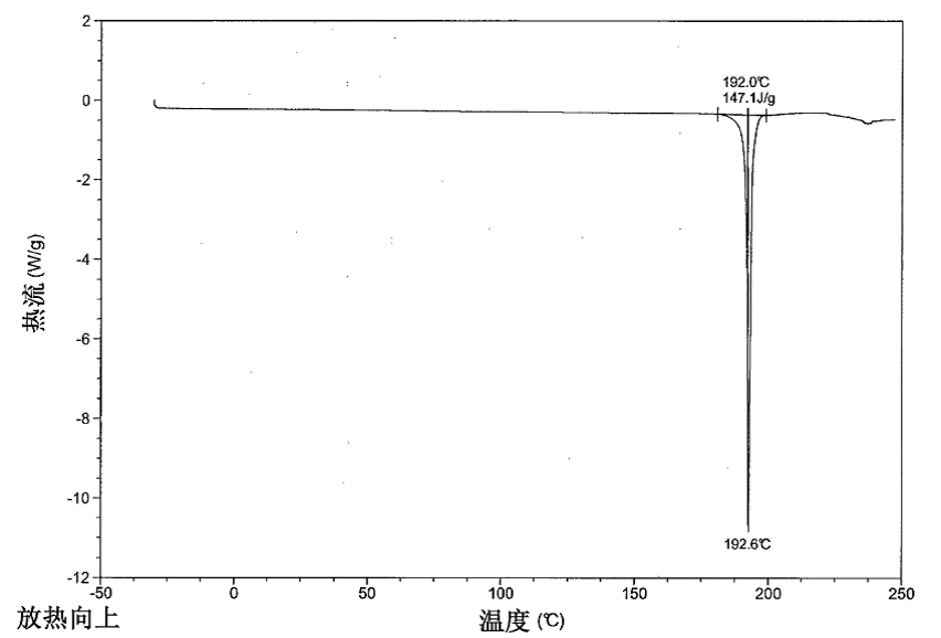
然而,该专利申请的下述附图描述了所要求保护的1-[(3R)-6,8-二氟-3,4-二氢-2H-1-苯并吡喃-3-基]-1,3-二氢-5-[2-[(苯基甲基)氨基]乙基]-2H-咪唑-2-硫酮的晶型A的差示扫描量热法热谱图。

从上述附图可以看出,该发明的晶型A的差示扫描量热法热谱图的吸热峰具有约192°C的开始温度和约193°C处的峰顶点。该差示扫描量热法热谱图示出了晶型A的熔点(在192.6°C下的峰)。因此,该发明的权利要求1中的晶型A的熔点高于对比文件1中的化合物的熔点。考虑到彼此熔点之间的差别,对比文件1中的1-[(3R)-6,8-二氟-3,4-二氢-2H-1-苯并吡喃-3-基]-1,3-二氢-5-[2-[(苯基甲基)氨基]乙基]-2H-咪唑-2-硫酮化合物与该申请要求保护的发明的权利要求1中的1-[(3R)-6,8-二氟-3,4-二氢-2H-1-苯并吡喃-3-基]-1,3-二氢-5-[2-[(苯基甲基)氨基]乙基]-2H-咪唑-2-硫酮的晶型A明显不同。
对比文件1并没有公开1-[(3R)-6,8-二氟-3,4-二氢-2H-1-苯并吡喃-3-基]-1,3-二氢-5-[2-[(苯基甲基)氨基]乙基]-2H-咪唑-2-硫酮化合物的XRPD数据。该申请要求保护的发明的权利要求1中的特征“所述晶型A具有在14.0、16.1、16.6、19.2和20.4° 2θ ±0.2° 2θ处具有峰的XRPD图”隐含了要求保护的1-[(3R)-6,8-二氟-3,4-二氢-2H-1-苯并吡喃-3-基]-1,3-二氢-5-[2-[(苯基甲基)氨基]乙基]-2H-咪唑-2-硫酮的晶型A具有与对比文件1中的化合物相比明显不同的特定结构。本领域技术人员根据对比文件1公开的内容,能够将该发明的权利要求1中的晶型A与对比文件1中的化合物区分开,因此,该申请要求保护的发明的权利要求1相对于对比文件1具有新颖性。
此外,该申请要求保护的发明的权利要求1中的晶型A具有较低的吸湿性并且在机械和/或水蒸气应力下显示较高的稳定性,因此,该申请要求保护的发明的权利要求1中的晶型A具有出乎意料的技术效果。所以,该申请要求保护的发明的权利要求1也具备创造性。在经过上述争辩以后,审查员接受了该争辩意见,目前该案件已经被授予专利权。
笔者认为,针对化合物晶体发明的新颖性问题,如果申请请求保护的权利要求书中限定了诸如晶胞参数和空间群、XRPD或固相NMR等的晶体表征参数,然而在对比文件中却没有公开对应产品的诸如晶胞参数和空间群、XRPD或固相NMR等的晶体表征参数,导致申请请求保护的晶体与对比文件公开的产品无法直接比较,这时申请人和代理人可以从诸如熔点或差示扫描量热曲线等其他方面着手考虑申请请求保护的晶体与对比文件公开的产品之间是否存在区别,申请人也可以提供在与请求保护的发明相同的测定条件下对比文件中的产品的诸如晶胞参数和空间群、XRPD或固相NMR等的晶体表征参数的补充实验数据,从而找到克服这类化合物晶体发明新颖性问题的突破口。
三、结论
如前所述,在答复化合物晶体发明的新颖性问题的审查意见时,申请人和代理人可以结合说明书整体公开的内容,从诸如熔点或差示扫描量热曲线等其他方面找出申请请求保护的晶体与对比文件公开的产品之间的区别,也可以提供在与请求保护的发明相同的测定条件下对比文件中的产品的相应表征参数的补充实验数据,从而从多个方面证明申请请求保护的晶体确实不同于对比文件中公开的产品,由此合理克服化合物晶体发明的新颖性问题,公正客观地维护申请人应得的权利。
本文仅是笔者在实践中的一点体会,仅起抛砖引玉的作用,如有不妥之处,希望读者多加指正。
参考文献:
1.《专利审查指南》,知识产权出版社,2010


















